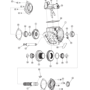
Power Take-Offs
A Power Take-Off (PTO) is a device that transfers mechanical power from an engine or power source to auxiliary equipment, enabling vehicles or machinery to perform additional tasks. Commonly used in agricultural, industrial, and construction applications, PTOs power equipment such as mowers, pumps, and hydraulic systems. Designed for durability and efficiency, PTOs come in various configurations to meet specific operational needs.
Documents & Resources
A Power Take-Off (PTO) is a device that transfers mechanical power from an engine or power source to auxiliary equipment, enabling vehicles or machinery to perform additional tasks. Commonly used in agricultural, industrial, and construction applications, PTOs power equipment such as mowers, pumps, and hydraulic systems. Designed for durability and efficiency, PTOs come in various configurations to meet specific operational needs.
Documents & Resources

We do not sell or ship outside of the United States.